Heat Transfer Rate from a Cylindrical Pin Fin - Maple Application Center
Application Center Applications Heat Transfer Rate from a Cylindrical Pin Fin

Heat Transfer Rate from a Cylindrical Pin Fin

Author
: Maplesoft AuthorSamir Khan
Engineering software solutions from Maplesoft
This Application runs in Maple Flow. Don't have Maple Flow? No problem!
 Try Maple Flow free for 15 days!

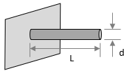
This application calculates the heat transfer rate from a cylindrical pin fin with a constant cross-section, constant thermal conductivity and an adiabatic tip.

 

Application Details

Publish Date: November 04, 2022
Created In: Maple Flow 2021
Language: English

More Like This

Binary Distillation with the McCabe-Thiele Method
Interacting Tank Reservoirs
Optimising Asset Allocation by Maximising the Sharpe Ratio
The Countdown Numbers Game
1
Liquid Flow Through a Pump
Pricing European Call Options with FFTs
Automatic Optimization of Controller
Optimize the Flight Path of a Pan-US Delivery Drone