Do not display this message again
Close window
Live loads with Vehicular centrifugal force - Maple Application Center
Contactez Maplesoft
Demandez un devis
Produits
Maple
Logiciel de mathématiques puissant facile à utiliser
• Maple Académique
• Maple Edition Étudiant
• Maple Learn
• Maple Calculator App
• Maple pour l’industrie et le gouvernement
• Edition personnelle Maple
Add-ons Maple
• E-Books & Guides d'étude
• Boîte à outils et add-ons Maple
• MapleNet
• Maple Player gratuit
Math Success Platform
Améliorer les taux de retention
Maple Flow
Engineering calculations & documentation
• Maple Flow
• Maple Flow Migration Assistant
MapleSim
Modélisation avancée au niveau système
• MapleSim
• MapleSim for Web Converting Systems
• MapleSim pour la création de jumeaux numériques
• MapleSim Académique
• Bibliothèques de composants add-on
• MapleSim Insight
Services-conseils
• Services d’ingénierie
• Formation produit en ligne
• Turnkey Solutions
Produits d’enseignement en ligne
Vous cherchez Maple T.A. ou Möbius ?
DigitalEd, un partenaire technologique de Maplesoft, offre maintenant ces produits. En savoir plus.
Solutions
Enseignement
• Enseignement des mathématiques
• Enseignement de l’ingénierie
• Enseignement secondaire et supérieur
• S-SI STI2D
• Mathématiques du lycées
• CPGE
• Etudiants
• Ressources d’apprentissage à distance
Industrie
Automobile et aéronautique
• Véhicules électriques et électriques hybrides
• Groupe motopropulseur
• Dynamique véhicule
• Engins lourds de chantier
• Systèmes aéronautiques
• Systèmes spatiaux
Robotique
• Recherche en robotique
• Robotique/Contrôle de mouvement/Mécatronique
Conception de machine & automatismes industriels
• Conception de machine
• Fabrication
• Equipements miniers & pétroliers
• Manipulation de bandes
Autres
• Energie
• Modélisation financière
• Appareils médicaux
• Sciences de la vie
Domaines d’application
• Power Systems Engineering
• Electrical Engineering Calculations
• Mechanical Engineering Calculations
• Simulation & analyse système
• Mise en service virtuelle
• Conception de batteries
• Modélisation des transferts thermiques
• Analyse dynamique de mécanismes
• Utils d'analyse & de calcul de conception
• Développement de modèles HIL
• Analyse et atténuation des vibrations
Achats
Prix et d'achats
• Maple
• Maple Flow
• MapleSim
• Add-ons et connecteurs
• Demande de devis
Achats
• Boutique en ligne Maplesoft
• Mise à jour vers la dernière version
• Contacter notre service commercial
Licences institutionnelles Etudiants
• Virtualisation
• Licences Etudiants & options de distribution
Vue d’ensemble du service EMP
• EMP Overview
• Foire aux questions EMP
Support et Ressources
Support
• Support technique et service clients
• Foire aux questions
• Documentation produits
• Télécharger les mises à jour produits
Formation produit
• Centre d’assistance aux étudiants
• Formation produit en ligne
• Formation sur place
Aide en ligne Produit
• Aide en ligne Maple
• Aide en ligne MapleSim
Webinaires et évènements
• Webinaires en direct
• Webinaires enregistrés
• Agenda des évènements
Publications
• Livres blancs techniques
• Bulletin électronique
• Livres Maple
• Disciplines mathématiques
Hubs de contenu
• Centre de ressources pour enseignants
• Centre d’assistance aux étudiants
• Ressources d’apprentissage à distance
Exemples et applications
• Portail des applications
• Galerie de modèles MapleSim
• Cas d'Etudes Utilisateur
• Exploration des fondamentaux de l'ingénierie
• Concepts d’enseignement avec Maple
Communauté
• Forum MaplePrimes
• MapleCloud
• Maple Conference
Entreprise
A propos de Maplesoft
• Présentation de la société
• Direction
• Clients
• Mission Statement and Core Values
• Partenariats et Opportunitées OEMs
Ressources presse
• Communiqués de presse
• Cas d'Etudes Utilisateur
• Couverture médiatique
Communauté
• MaplePrimes
• Programme Ambassadeur Maple
• Maple Conference
Contacts
• Coordonnées internationales
• Recrutement
Home
Produits
Maple
Boîte à outils et add-ons Maple
Maple Learn
Maple Calculator App
Maple Flow
MapleSim
Connecteurs et bibliothèques de composants
Services Professionnels
Enseignement en ligne
Solutions
Éducation et Recherche
Ingénierie
Application Areas
Achats
Prix et d'achats
Boutique en ligne Maplesoft
Institutional Student Licensing
Programme de maintenance EMP
Support et Ressources
Support
Formation produit
Online Product Help
Webinaires en direct
Livres blancs techniques
Content Hubs
Examples & Applications
Communauté
Company
A propos de Maplesoft
Ressources presse
Communauté
Contact
Toggle navigation
Sign in
Register
Submit your work
Application Center
Applications
Live loads with Vehicular centrifugal force
Live loads with Vehicular centrifugal force
Author
:
Takashi Iwagaya
0
Download
PDF Preview
This Application runs in Maple Flow.
Don't have Maple Flow? No problem!
Try Maple Flow free for 15 days!
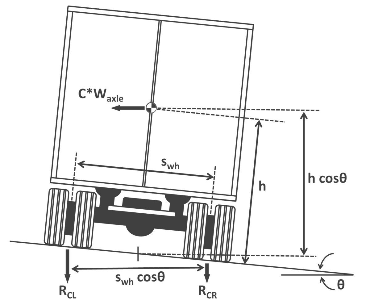
This document analyzes the vehicular live load force effects by calculating the unit wheel-load factors with the centrifugal force and super elevation. The calculation is based on LRFD for Highway Bridge Superstructures Reference Manual.
Application Details
Publish Date
:
February 25, 2022
Created In
:
Maple Flow 2021
Language
:
English
Share
Copy URL
Tweet
This application is in the following
Collection
:
Civil Engineering
Add to a Collection
You must be logged in to add to a collection
Tags
civil
civil-engineering
More Like This
Valve Fundamental 2 - Compressible flow
Takashi Iwagaya
0
mechanicalengineering
thermodynamics
fluid-dynamics
Valve Fundamental 1 - Incompressible flow
Takashi Iwagaya
0
mechanicalengineering
thermodynamics
fluid-dynamics
Induction Motor Analysis for Start-up Protection
Takashi Iwagaya
0
electrical
Power Swing Analysis for Out-Of-Step Protection
Takashi Iwagaya
0
electrical
アナログフィルターのワーストケース解析
Takashi Iwagaya
1
electrical
electrical-engineering
circuit
Loss of Internal flow
Takashi Iwagaya
0
mechanicalengineering
thermodynamics
fluid-dynamics
Worst case analysis for Analog filter
Takashi Iwagaya
0
electrical
electrical-engineering
circuit
worst-case-circuit-analysis
wcca
Sensor interface design with Worst case analysis - Volume 1
Takashi Iwagaya
0
electrical
electrical-engineering
circuit
worst-case-circuit-analysis
wcca
ピラミッドホーン設計
Takashi Iwagaya
0
electrical
electrical-engineering
Sensor interface design with Worst case analysis - Volume 2
Takashi Iwagaya
0
electrical
electrical-engineering
circuit
worst-case-circuit-analysis
wcca
Use Optimization for Worst Case Analysis
Takashi Iwagaya
0
electrical
Worst Case Analysis - Three-Pin Regulator
Takashi Iwagaya
0
electrical
electrical-engineering
circuit
worst-case-circuit-analysis
wcca
×
Create a Collection
Name:
Description (optional):
Collections
×
Collections are user-defined, publicly available groups of applications. Add applications to your own Collections, and share them with other Maple users.